目 录CONTENT

文章目录

索尼新专利曝光:游戏卡关过不去,AI 直接帮你打

Administrator
2026-01-10 / 0 评论 / 0 点赞 / 1 阅读 / 0 字

📢 转载信息

原文链接:https://www.ithome.com/0/911/133.htm

原文作者:故渊


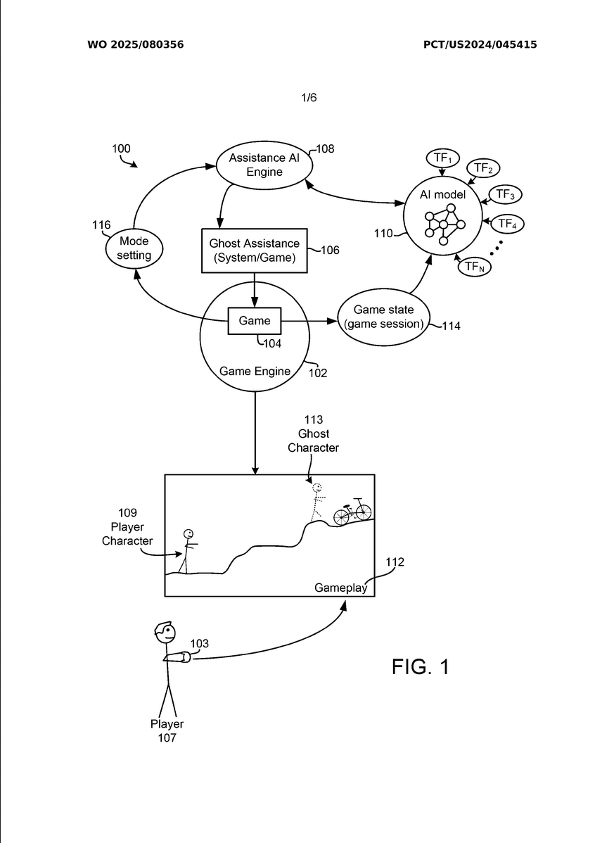
IT之家 1 月 7 日消息,科技媒体 Wccftech 昨日(1 月 6 日)发布博文,挖掘世界知识产权组织(WIPO)本周公示列表,索尼获批《AI 生成幽灵玩家》专利,在《战神》、《神秘海域》等游戏中向玩家演示如何通过困难关卡。

不同于传统的静态攻略视频,该系统能基于玩家当前的装备、血量和位置等实时数据,生成个性化的解决方案。专利文件详细描述了系统的运作机制:在游戏过程中,AI 引擎会持续分析游戏状态数据(Game State Data)。

在检测到玩家陷入困境后,系统会在当前画面上叠加一个半透明的“幽灵角色”。IT之家援引博文介绍,这个幽灵并非播放预录像,而是基于当前场景实时演算生成的,它能精确演示玩家在当下条件下如何操作才能过关,确保演示内容与玩家实际面临的处境完全一致。

该系统设计了两种截然不同的交互模式。第一种是“引导模式”(Guide Mode),主要针对解谜环节,幽灵角色会演示正确的路径或机关触发顺序。

第二种则是更为激进的“完成模式”(Complete Mode)。在此模式下,AI 不仅提供演示,甚至能直接接管游戏控制权,自动操作角色通过高难度战斗或繁琐路段,让玩家能直接跳过“卡关”环节继续体验后续剧情。

广告声明:文内含有的对外跳转链接(包括不限于超链接、二维码、口令等形式),用于传递更多信息,节省甄选时间,结果仅供参考,IT之家所有文章均包含本声明。




🚀 想要体验更好更全面的AI调用?

欢迎使用青云聚合API,约为官网价格的十分之一,支持300+全球最新模型,以及全球各种生图生视频模型,无需翻墙高速稳定,文档丰富,小白也可以简单操作。

0

评论区